手动阀门系列
 气动阀门系列
 电动阀门系列
 电磁阀系列
 执行机构和操作器
 气动阀门附件
 气动隔膜阀
 气动薄膜调节阀
 自力式压力调节阀
 

公司地址:江苏张家港市国泰北路
     1号悦丰大厦  
销售热线:13605167073  
     0512-58989822
图文传真:0512-58405240
http://www.fast-valve.com

Email:shxr365@hotmail.com

您现在的位置→产品展示
 
自力式压力调节阀

 

目          录

 

 

一、用途和特点……………………………………………(1)

 

二、结构与作用原理………………………………………(1)

 

三、主要参数、性能指标与材料……………………………(5)

 

四、安装、使用与维护………………………………………(8)

 

五、型号编制说明…………………………………………(13)

 

六、订货须知………………………………………………(14)

 

七、法兰尺寸………………………………………………(15)

 

 

 

 

 

一、  用途和特点

ZZY型自力式压力调节阀(简称调压阀)无需外加能源,利用被调介质自身能量为动力源,引入执行机构控制阀芯位置,改变两端的压差和流量,使阀前(或阀后)压力稳定。具有动作灵敏,密封性好,压力设定点波动小等优点,广泛应用于石油、化工、电力、冶金、食品、轻纺、机械制造与居民建筑楼群等到各种工业设备中用气体、液体及蒸汽介质减压稳压或泄压稳压的自动控制。能在无电、无气的场合使用,附设冷凝器,可在350℃蒸汽下连续工作。

 

二、  结构和作用原理

调压阀主要有检测执行机构、调压阀、冷凝器与阀后接管等四部分组成。检测执行机构有膜片式、气缸活塞式,见图一。膜片式调节灵敏度好,压力变化反应快。气缸活塞式承受压力高、调节行程大,对高温、高压多采用此种形式。调压阀有单座阀、套筒阀、双座阀、其结构见图二。其作用原理见图三。

 

                              a)膜片式                                                                                                    b)气缸式

图一  检测执行机构

 

 

 

图二  阀的结构形式

 

 

图三a.用于控制阀后压力调节的调压阀,阀的作用方式为压闭型。其原理如下:介质由箭头方向流入阀体、经阀芯、阀座节流后输出。另一路经冷凝器(介质为蒸汽时使用)冷却后,被引入执行机构作用于膜片上,使阀芯随之发生相应的位移,达到减压、稳压之目的。如阀后压力增加,作用于膜片上的力增加,压缩弹簧,带动阀芯,使阀门开启度减小,直至阀后压力下降到设定值为止。同理,如阀后压力降低,作用在膜片上的力减小,在弹簧的弹力作用下,带动阀芯,使阀门开启度增大,直到阀后压力上升到设定值为止。

 

 

1、主阀           2、阀后接管            3、取压管

4、压力调节盘     5、冷凝器              6、弹簧

7、检测执行机构   8、冷凝液排放螺塞

 

 

图三a  ZZYP-16B 压闭型调压阀

 

图三b.用于控制阀前压力的调压阀,阀的作用防守为压开型。其原理如下:介质由箭头方向流入阀体,另一路经冷凝器(介质为蒸汽时使用)冷却后,被引入执行机构作用于膜片上,使阀芯随之发生相应的位移,达到泄压、稳压之目的。如阀前压力增加,作用于膜片上的力增加,压缩弹簧,带动阀芯,使阀门开启度增大,直至阀前压力下降到设定值为止。同理,如阀前压力降低,作用在膜片上的力减小,在弹簧的弹力作用下,带动阀芯,使阀门开启度减小,直到阀前压力升到设定值为止。

 

 

1、主阀           2、阀后接管            3、取压管

4、压力调节盘     5、冷凝器              6、弹簧

7、检测执行机构   8、冷凝液排放螺塞

 

 

图三b  ZZYP-16K 压开型调压阀

三、主要参数、性能指标与材料

1.     主要参数、性能指标(表一)

公称通径(DN)mm

20

25

32

40

50

65

80

100

125

150

200

250

300

·额定流量系数(Kv)

单座套筒

7

11

17

29

43

70

110

165

275

440

690

960

1300

双座

/

12

19

30

48

76

120

193

300

480

760

1000

1600

额定行程(mm)

8

8

8

8

14

20

20

25

40

40

40

60

60

公称压力(MPa)

1.6       4.0      6.4    10.0

压力分段范围(KPa)

30~50    40~80    50~100    80~200    120~350    250~500

400~800   700~1000   900~1400   1200~1700   1500~2000

1800~2400   2200~2800   2600~3200   3000~3600   3500~4000

流量特性

快开

调节精度(%)

±10

使用温度(℃)

≤350

允许泄漏量(l/h)

软密封:VI级  硬密封:IV级

 

减压比

阀前压力

(阀后压力 )

最大

10

 

最小

1.25

 

 

 


2.      

B

K

ZZYP-16  型调压阀外形尺寸及重量(表二)(图四) 

 

                                                                    表二               单位:mm

 

公称通径(DN)

15

20

25

32

40

50

65

80

100

125

150

200

250

300

法兰接管尺寸(B)

383

512

603

862

1023

1380

1800

2000

2200

法兰端面距(L)

150

160

180

200

230

290

310

350

400

480

600

730

850

压力调节范围

KPa

30~120

高度H

470

480

500

670

720

780

820

860

940

1000

直径A

308

398

498

100~300

高度H

460

480

500

660

700

760

820

860

900

950

直径A

282

308

398

250~500

高度H

450

480

490

660

700

760

800

850

890

940

直径A

198

232

282

500~1000

高度H

450

480

660

700

760

800

850

880

930

直径A

198

232

重量(Kg)

26

37

42

72

90

114

130

144

180

200

250

取压管接头螺纹

G1/4

 


      

 

图四  ZZYP-16B K 型调压阀外形尺寸图

 

主要零件材料(表三)

 

零件名称

材    料

阀    体

ZG230-450  ZG1Cr18Ni9Ti  ZGCr18Ni12Mo2Ti

阀    芯

1Cr18Ni9Ti  Cr18Ni12Mo2Ti

阀    座

1Cr18Ni9Ti  Cr18Ni12Mo2Ti

阀    杆

1Cr18Ni9Ti  Cr18Ni12Mo2Ti

橡胶膜片

丁晴橡胶、三元乙丙胶、氟橡胶、耐油橡胶、硅胶

膜    盖

A3、A3钢涂四氟乙烯

填    料

聚四氟乙烯、柔性石墨

 

 

四、  安装、使用与维护

 

1.     安装

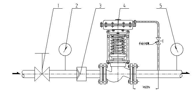
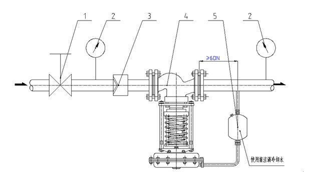
自力式压力调节阀在安装前必须清洗管道,阀在常温下(≤70℃)气体或低粘度液体介质中使用时,此时与通常的启动薄膜调节阀相同为直立安装在水平管道上,如图五所示。

     1、截止阀   2、压力表   3、过滤器   4、调压阀   5、压力表

a、ZZYP-16B型调压阀

 

1、截止阀   2、压力表   3、过滤器   4、调压阀   5、压力表

b、ZZYP-16K型调压阀

 

图五  介质为气体或粘度液体时的安装

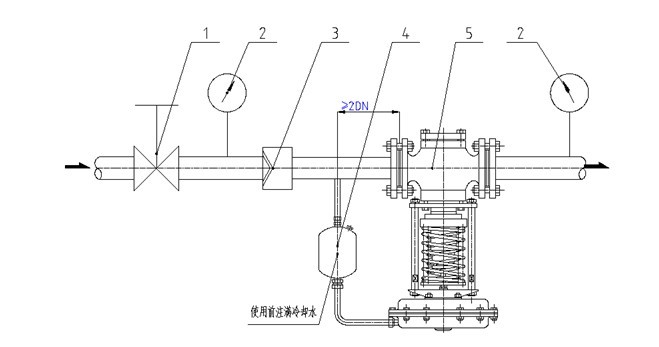
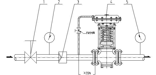
如果调压阀使用的介质为蒸汽时,调压阀需倒立安装在水平管道上,如图六所示

 

1、截止阀   2、压力表   3、过滤器   4、调压阀   5、冷凝器

a、ZZYP-16B型调压阀

 

1、截止阀   2、压力表   3、过滤器   4、冷凝器   5、调压阀

b、ZZYP-16K型调压阀

 

图六  介质为蒸汽时的安装

 

  安装时,注意以下几点:

(1)    冷凝器必须高于调压阀的执行机构而低于阀后(阀后调压阀)阀前(阀前调压阀)接管,以保证冷凝器内充满冷凝液。

(2)    取压点应取在离调压阀适当的位置,阀前调压阀应大于2倍管道直径,阀后调压阀应大于6倍管道直径。

(3)    为便于调压阀现场维修及操作,调压阀四周应留有适当空间。调压阀前后应设置截止阀,并设置旁路手动阀,如图七所示。

 

 

                     图七  调压阀阀组安装方案
            注:图中虚线表示管道出入口的另一允许方向

 

(4)    调压阀口径过大(DN≥100)时,调压阀应有固定支架。

(5)    介质流动方向与阀体上箭头指向一致,调压阀前后管道中心应对准调压阀两法兰中心,避免阀体受过大的应力。

(6)    调压阀应设置过滤器以防止介质中杂质堵塞。

(7)    调压阀应安装在环境温度不超过-25~+55℃的场合。

2. 使用

使用在常温下的气体和低粘度液体场合的操作:

缓慢开启调压阀前后截止阀,开始进行调压阀的操作,拧松排气塞8(参见图三)直至气体或液体从执行机构溢出为止,然后重新拧紧排气塞,调压阀即可工作。所需的压力值是通过压力调节盘5的操作而得到调整,调整时,注意观察压力表示值,动作应缓慢,且注意不得使阀杆跟着转动,若要使压力升高则应右旋方向转调节盘,否则应左旋方向转调节盘。

 

  使用在蒸汽场合操作:

  从冷凝器上拧下注液口螺钉,拧松执行机构排气塞8,使用漏斗通过注液口加水直至排气孔流出为止,拧紧排气塞,继续注水直至溢出注液口为止。拧紧注液口螺钉,缓慢开启调压阀前后截止阀,观察压力表示值的同时,缓慢调整压力调节盘5,直至压力表表示值达到要求为止。

 

3.     调试

调整控制压力时,把弹簧下面调节盘往上旋转,压缩弹簧,则控制压力升高;反之则降低。如自力式压力调节阀长期不使用时,建议关闭取压管上手动小球阀。

 

对整条管道打压时,对控制阀后压力的自力式压力调节阀,则把取压管上手动小球阀关闭,这样该阀始终处于全开状态,否则管道打压时易损坏执行机构膜片;对控制阀前压力的自力式压力调节阀,打开取压管上小球阀,管道输入压力不大于该阀控制的最大阀前压力,否则易损坏执行机构膜片。

 

对整条管道吹扫时,建议拆下自力式压力调节阀进行吹扫,管道内杂质会算坏自力式压力调节阀。无拆卸条件时,必须按管道打压要求进行操作。

 

4.      维修

     调压阀投入运行后,一般维护工作量很小,平时仅需时常观察阀前、阀后压力表即可。另外,观察填料函与执行机构处是否渗漏,若填料函渗漏应拧紧填料上螺钉,不漏即可(不能拧的过紧,否则影响调节精度)或更换填料及膜片。调压阀常见故障排除方法见表四。

 

                                                                表 四

 

故障现象

产生原因

排除方法

阀后压力不稳定随着阀前压力变动而变动

1. 阀芯被异物卡住

2. 阀杆、推杆卡住

3. 进液管道堵塞

1. 重新拆装排除异物

2. 重新调整

3. 疏通

阀后压力降不下来,始终在需求值上方变动

1. 设定弹簧刚度太大

2. 阀口径过大

3. 阀前压力过高,减压比过大

4. 弹簧压缩量太大

 

1. 更换弹簧

2. 更换较小口径

3. 阀前压:阀后压超过10:1,应2级降压

4. 旋转调节盘往下拧,舒张弹簧

阀后压力升不上去,始终在需求值下方变动

1.设定弹簧刚度太小

2. 阀口径过小

3. 减压比过小

 

4. 弹簧压缩量太小

 

1. 更换弹簧

2. 更换较大口径

3. 阀前压:阀后压低于1:25,应提高阀前压

4. 旋转调节盘往上拧,压缩弹簧

阀前压力升不上去,始终在需求值下方动作

1. 定弹簧刚度太小

2. 阀芯被异物卡住

3. 阀杆、推杆卡住

4. 阀芯、阀座损坏,泄漏量过大

5 阀口径太大

1. 更换弹簧

2. 重新拆装

3. 重新调整

4. 重新研磨,或更换

 

5. 更换较小口径

阀前压力降不下去,始

终在需求值上方动作

1. 设定弹簧刚度太大

2. 阀口径太小

3. 阀芯、阀杆、推杆等卡死

1. 更换弹簧

2. 更换较大口径

3. 排除卡死原因,重新调整

阀后压或阀前压波动过于频繁

1. 阀口径过大

2. 执行机构膜室容量过小

1. 选择恰当的阀口径

2. 在进液管道内增设阻尼器

 

 

五、  型号编制说明

 

 

 

 


          Z   Z    Y                                        

 


产品类别

Z

 

 

 

 

 

 

执行器大类

 

Z

 

 

 

 

 

自力式

 

 

Y

 

 

 

 

压  力

调节机构

P

 

 

 

单座平衡

N

 

 

 

双  座

M

 

 

 

套  筒

公称压力(PN)

16

 

1.6MPa

40

 

4.0MPa

阀芯初始状态

 

B

常开(压力增加时闭合)

 

K

常闭(压力增加时开启)

 

 

 

 

例1、ZZYP-16B自力式压力调节阀,单座平衡型、公称压力为1.6MPa压闭型(常开)。

例2、ZZYN-40K自力式压力调节阀,双座阀门、公称压力为4.0MPa压开型(常闭)。

注:检测执行机构采用气缸活塞式时特殊注明。

 

 

 

六、  订 货 须 知

 

订货时请用户提供以下资料:

 

型   号

 

名   称

 

公称通径

 

公称压力

 

信号范围

 

作用方式

 

介质参数

 

介质工作温度

 

额定流量系数

 

固有流量特性

 

阀前最大压力

阀前最小压力

阀前正常压力

 

阀后最大压力

阀后最小压力

阀后正常压力

 

最大流量

最小流量

正常流量

 

液体粘度

液体重度

气体重度

 

材质: 阀体

 阀芯

   阀内件

 填料

 

 

附件:

气动阀门定位器

电-气阀门定位器

电-气转换器

手轮机构

过滤减压器

电磁阀

 

工艺管道尺寸

 

耐蚀等特殊要求

 

 

自力式调压范围

调温范围

压差调节范围

微压调节范围

 

 

 

 

 

 

                                                                单位:mm

公称通径(DN)

20

25

32

40

50

65

80

100

125

150

200

法兰端面距(L)

PN16

PN40

150

160

180

200

230

290

310

350

400

480

600

PN64

200

216

220

255

290

315

340

400

500

550

650

D

PN16

105

115

140

150

165

185

200

220

250

285

340

PN40

105

115

140

150

165

185

200

235

270

300

375

PN64

130

140

155

170

180

205

215

250

295

345

415

D1

PN16

75

85

100

110

125

145

160

180

210

240

295

PN40

75

85

100

110

125

145

160

190

220

250

320

PN64

90

100

110

125

135

160

170

200

240

280

345

b

PN16

16

16

18

18

20

20

20

22

22

24

24

PN40

16

16

18

18

20

22

24

24

26

28

34

PN64

20

24

24

26

26

26

28

30

34

36

42

n-Φ

PN16

4-14

4-14

4-18

4-18

4-18

4-18

8-18

8-18

8-18

8-22

12-22

PN40

4-14

4-14

4-18

4-18

4-18

8-18

8-18

8-22

8-26

8-26

12-30

PN64

4-18

4-18

4-23

4-23

4-23

8-23

8-23

8-25

8-30

8-34

12-34

f1×D2

PN16

2×56

2×65

2×76

2×84

2×99

2×118

2×132

2×156

2×184

2×211

2×284

f2×D5

PN40

3×51

3×58

3×66

3×76

3×88

3×110

3×121

3.5×150

3.5×176

3..5×204

3.5×260

PN64

3×51

3×58

3×66

3×76

3×88

3×110

3×121

3.5×150

3.5×176

3.5×204

3.5×260

 

注:1.本产品法兰连接尺寸按GB9113-2000标准或HG20592-2009标准。

    2.本产品法兰密封面形式有突面和凹凸面两种,可按用户指定,用户未指定时,PN16按突面,PN40、PN64凹面。

[首页]  [上一页]  [返回]  [ 下一页]  [尾页]
 
  首页 | 公司简介 | 产品展示 | 资讯中心 | 在线留言 | 联系方式
版权所有:张家港捷特阀业有限公司   苏ICP备10221384号-3  管理